Fırsat Ürünleri
Sipariş Takip
Servis Takip
212/538/546
885 15 02
Giriş Yap
Beni Hatırla
Şifremi Unuttum
Giriş Yap
Hemen Üye Ol
ile Bağlan
ile Bağlan
Favorilerim
Sepetim
ÇİM BAKIMI ÜRÜNLERİ
Çim Biçme Traktörü
Benzinli Çim Biçme
Elektrikli Çim Biçme
Akülü Çim Biçme
Makaralı Çim Biçme
Çim & Toprak Havalandırma
Çim & Kenar Kesme Makası
ORMANCILIK ÜRÜNLERİ
Benzin Motorlu Testere
Elektrik Motorlu Testere
Akü Motorlu Testere
Pnömatik Motorlu Testere
Motorlu Testere Kılavuzu
Motorlu Testere Zinciri
Zincir Dişlisi / Rim
Zincir Bakımı Ürünleri
Ormancılık Aksesuarı
Balta Çeşitleri
OTLA MÜCADELE ÜRÜNLERİ
Benzin Motorlu Tırpan
Elektrik Motorlu Tırpan
Akü Motorlu Tırpan
Hepsi Bir Arada
Tırpan Misinası
Tırpan Başlığı
Tırpan Bıçağı
Tırpan Aksesuarı
TOPRAK İŞLEME MAKİNELERİ
Benzinli Çapa Makinesi
Dizel Çapa Makinesi
El Traktörü
Akülü Çapa Makinesi
Toprak Burgu Makinesi
Kanal Açma Makinesi
Ekipman
Çapa Makineleri
ZİRAİ MÜCADELE
Sırt Atomizörü
Sırt Pulverizatörü
Akülü Pulverizatör
Kollu Pulverizatör
Bahçe Pulverizatörü
Tarla Pulverizatörü
Turbo Atomizör
İlaçlama Pompası
İlaçlama Hortumu
İlaçlama Tabancası
Sisleme Makinesi
Akülü İlaçlama Makinesi
Benzinli Pülverizatör
İlaç Püskürtme Makinesi
Motorlu İlaçlama Makinesi
İLETİŞİM
İTAL
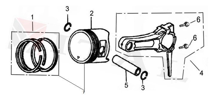
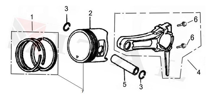
ITL-PİSTON TAKIM LC G420F 15HP STANDART 90MM
Yorum Yap - Puanla
Stok Kodu
ITL-YLM.13205007
Ürün Bilgisi
Yorumlar
Taksit Seçenekleri
Önerileriniz
PİSTON TAKIM LC G420F 15HP STANDART 90MM
Bu ürüne ilk yorumu siz yapın!
Yorum Yaz
Bu ürünün fiyat bilgisi, resim, ürün açıklamalarında ve diğer konularda yetersiz gördüğünüz noktaları öneri formunu kullanarak tarafımıza iletebilirsiniz.
Görüş ve önerileriniz için teşekkür ederiz.
Ürün resmi kalitesiz, bozuk veya görüntülenemiyor.
Ürün açıklamasında eksik bilgiler bulunuyor.
Ürün bilgilerinde hatalar bulunuyor.
Ürün fiyatı diğer sitelerden daha pahalı.
Bu ürüne benzer farklı alternatifler olmalı.
Gönder
ITL-PİSTON TAKIM LC G420F 15HP STANDART 90MM
ITL-YLM.13205007
https://www.bahcedunyasi.com/urun/piston-takim-lc420f-15hp-standart
Tavsiye Et
Adınız
*
Gönderilecek Kişiler
*
Tavsiye Mesajı
Bu ürünü çok beğendim, sana da tavsiye ederim.
*
İptal
Gönder
IdeaSoft
®
|
Akıllı E-Ticaret paketleri
ile hazırlanmıştır.